- by by 编辑
- 2022-03-09 15:20:37
每经记者 王砚丹 每经编辑 吴永久
3月3日,北京证监局披露信息显示,2月18日、2月23日,北京证监局先后收到了高盛高华证券、格林大华期货基金服务机构注册申请。加之前期已提交申请的瑞信证券(中国)、泰康人寿保险,目前光是北京证监局辖区就有4家机构正在申请基金服务机构注册。
《证券投资基金法》规定,从事公开募集基金的销售、销售支付、份额登记、估值、投资顾问、评价、信息技术系统服务等基金服务业务的机构,应当按照国务院证券监督管理机构的规定进行注册或者备案。程序上,证监会发布的【行政许可事项服务指南】显示,基金服务机构注册按照前审后批方式进行,受理、审核、决定机构均为住所地中国证监会派出机构。
值得一提的是,无论券商、保险,还是期货,均非基金销售最前沿,尤其是期货系绝大部分在“打酱油”中。
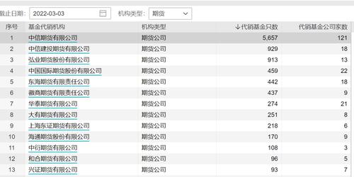
根据Wind资讯统计数据,目前开展基金代销的25家期货公司中,中信期货一骑绝尘,代销了5657只基金,代销基金公司家数为121家。其次是中信建投期货,代销基金只数为929只,代销基金家数为18家。仅有11家期货公司代销数量在100只以上。但根据中基协数据,2021年年报时,无期货公司代销基金保有量上榜百强。

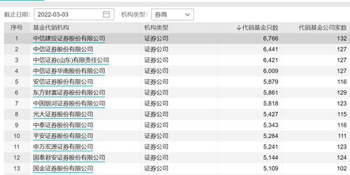
券商代销方面,中信建投代销基金只数最多,为6766只,代销基金公司数量为132家。其次是中信证券,代销基金只数6441只,中信证券(山东)、中信证券华南也均上榜前十名。东方财富证券代销了5861只,排名第六。
但中基协公布的截至去年年底代销基金保有规模方面(股票加混合公募基金),券商系虽有四十家上榜,但排名第一的中信证券在整个代销市场排名仅为第14名,其保有规模1048亿元与冠军招商银行的7910亿元也相去甚远。第二是华泰证券,保有规模为850亿元,全市场排名第18。第三为广发证券,保有规模为750亿元,全市场排名第19。

保险系方面,开展基金代销的9家保险公司中,中国人寿以4189只代销基金、85家代销基金公司遥遥领先。第二名为阳光人寿,代销了3414只基金、87家基金公司。
在中基协公布的截至去年年底代销基金保有规模百强榜(股票加混合公募基金)中,保险系只有中国人寿和玄元保险代理上榜。中国人寿以288亿元排名第39位,而玄元保险代理有限公司以36亿元排名第83位。

值得一提的是,虽然整个基金服务市场马太效应明显,但机构要申请基金服务业务仍然需要较高门槛。
根据证监会发布的【行政许可事项服务指南】,申请注册基金销售业务资格,应当具备下列条件:
(一)财务状况良好,运作规范;
(二)有与基金销售业务相适应的营业场所、安全防范等设施,办理基金销售业务的信息管理平台符合中国证监会的规定;
(三)具备健全高效的业务管理和风险管理制度,反洗钱、反恐怖融资及非居民金融账户涉税信息尽职调查等制度符合法律法规要求,基金销售结算资金管理、投资者适当性管理、内部控制等制度符合中国证监会的规定;
(四)取得基金从业资格的人员不少于20人;
(五)最近3年没有受到刑事处罚或者重大行政处罚;最近1年没有因相近业务被采取重大行政监管措施;没有因重大违法违规行为处于整改期间,或者因涉嫌重大违法违规行为正在被监管机构调查;不存在已经影响或者可能影响公司正常运作的重大变更事项,或者重大诉讼、仲裁等事项;
(六)中国证监会规定的其他条件。
此外,商业银行、证券公司、期货公司、保险公司、保险经纪公司、保险代理公司、证券投资咨询机构申请注册基金销售业务资格,在满足上述六项之外,还应当具备下列条件:
第一,有负责基金销售业务的部门;
第二,财务风险监控等监管指标符合国家金融监督管理部门的规定;
第三,负责基金销售业务的部门取得基金从业资格的人员不低于该部门员工人数的1/2,部门负责人取得基金从业资格,并具备从事基金业务2年以上或者在金融机构5年以上的工作经历;分支机构基金销售业务负责人取得基金从业资格;
第四,中国证监会规定的其他条件。
门槛高不代表基金销售机构的日子就好过。尤其是基金发行遇冷的情况下更是如此。Wind数据显示,2月份全市场只有63只基金成立,发行份额337.67亿份,创下2020年11月以来的16个月新低。
因此,有人星夜赴科场,就有人辞官归故里。近期,已有杭州科地瑞富基金销售、河南安存基金等第三方机构宣布注销公募基金销售牌照,并获得了所在地证监局申请。
但即便如此,根据Wind资讯数据统计,目前仍有443家机构拥有基金代销牌照,在基金销售的江湖激烈竞争。而对从业者而言,震荡的资本市场、观望的投资者,也许正是行业经受考验和经历沉淀最佳时期。
封面图片来源:摄图网-500562297
原文链接: http://www.zdm5.com/article-196970.html
本站声明:网站内容来源于网络,本站只提供存储,如有侵权,请联系我们,我们将及时处理。